
18121388846
cnklfm@163.com
15706269064
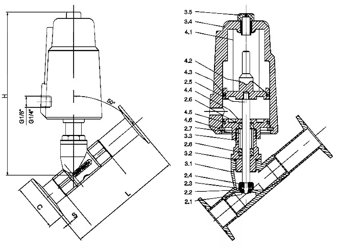
959210378Y685F全不銹鋼氣動快裝角座閥保持流速能夠節省空間,它采用帶彈簧保護的單作用氣動執行機構來操作的導向角座閥,使用時,應該選擇常開或常閉。產品由不銹鋼鑄造和聚四氟乙烯,可用于大多數氣體、液體、蒸汽和腐蝕性場合,它帶有散熱器來保護執行機構,閥使用長。
單作用(氣動頭通常為一個孔)
工作原理:根據彈簧復位達到開啟和關閉的作用,分為常開型與常閉型。
雙作用(氣動頭通常為兩個孔)
工作原理:給氣控制其開關。(根據要求,還可以選雙作用加彈簧復位)
介質溫度:-10~+180°
環境溫度:-10~+60°
公稱壓力:1.6Mpa
控制氣體:中性氣體,空氣
氣源壓力:0.3~0.8Mpa
規格:DN15-DN50
閥體材質:CF8/CF8M
閥座材質:PTFE
閥桿材質:304
密封圈材質:NBR
| 2.1螺栓 | 3.1閥體 | 4.1彈簧 |
| 2.2孔板密封件 | 3.2密封環 | 4.2活塞 |
| 2.3密封盤 | 3.3螺紋連接件 | 4.3O型圈 |
| 2.4閥盤 | 3.4汽缸 | 4.4閥蓋 |
| 2.5閥桿 | 3.5觀察窗 | 4.5O型圈 |
| 2.6V型填料 | 4.6檔圈 | |
| 2.7彈簧 |

| DN | L | C | S | H | D | 執行器 |
| 15 | 110 | 51 | 3 | 170 | 51 | 40 |
| 20 | 116 | 51 | 3 | 185 | 62 | 50 |
| 25 | 130 | 51 | 3 | 195 | 62 | 50 |
| 32 | 156 | 51 | 3 | 235 | 76 | 63 |
| 40 | 156 | 65 | 3 | 250 | 92 | 80 |
| 50 | 178 | 78 | 3 | 265 | 92 | 80 |
| 65 | 207 | 91 | 3 | 305 | 117 | 100 |
| 80 | 231 | 106 | 3 | 365 | 140 | 125 |
獲取Y685F-全不銹鋼氣動快裝角座閥報價或訂購產品時請提供以下參數:
執行標準:國標GB,日標JIS,美標ANSI,德標DIN,并支持非標訂制;
公稱通徑(DN),或以“寸”為尺寸單位,如:DN100,4寸(4");
公稱壓力(MPa),或以“Lb”,“K”,“pa”,“kpa”,“bar”,“psi”,為壓力單位,如:1.6MPa,150LB,10K;其它壓力單位將換算成MPa進行計算。
連接形式:法蘭,對夾,焊接(對焊,承插焊),螺紋(G螺紋,NPT螺紋,RC螺紋...),卡箍,卡套;
使用介質:水,弱腐蝕性介質,強腐蝕性介質,蒸汽,油品,可燃氣體,固液共存流體,等等,粘稠介質需提供粘度;
使用溫度:低溫,常溫,中溫,高溫,需提供實際使用溫度值;
閥體材質:鑄鐵,鑄鋼(20#或稱WCB),鍛鋼,不銹鋼(304/304L/316/316L),雙相不銹鋼,等等;
密封材料:橡膠,聚四氟乙烯,陶瓷,PPL等,硬密封(閥體材料密封,合金鋼,硬質合金等);
驅動方式:手柄,蝸輪,氣動,氣動+手動,(選擇氣動驅動需提供氣源壓力,單/雙作用,附件要求...),電動,電動+手動,(選擇電動驅動需提供電壓,電裝防護/防爆要求...),等等;
閥門Kv/Cv值:若對流量有要求,需提出;
以上為常規選型,提供相關參數若符合常規產品即可獲取對應產品報價,非標訂制(非常規尺寸/閥體材質/密封材質/使用介質/溫度等)需由我司具體確認價格及貨期。
若有產品試驗、檢驗標準及其他要求需在獲取報價/訂貨時提出;
若由客戶提供閥門類型和型號時(非標準型號),客戶應正確說明其型號的含義和要求,在供需雙方理解相同的條件下簽訂合同;
產品質量要求、質量標準、供方對質量負責的條件:按有關質量標準執行;
報價確認:我司提供報價清單及標準說明至客戶確認,在雙方確認后再擬定合同;
Y685F-全不銹鋼氣動快裝角座閥使用的場合重要或環境比較復雜時,請您盡量提供設計圖紙和詳細參數,由我們幫您確認。
上海昆煉閥門制造有限公司
滬公網安備 SITEMAP